Écran GPS BMW E85 M
-
Dub55
- Nouveau Membre

- Messages : 11
- Enregistré le : 02 sept. 2025 19:04
- Véhicule : BMW Z4 M Roadster e85
- VIN (Les 7 derniers caractères) : LJ20407
- Localisation : Yvelines
Écran GPS BMW E85 M
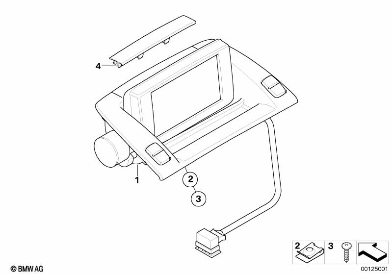
Bonjour, j'ai acheté un e85 M dernièrement, malheureusement l'ancien propriétaire (Allemagne) puisque c'est une importation a installé un affreux Carplay en lieu et place du module du GPS ne restant que la ceinture de ce dernier ( Voir photos). J'ai donc trouvé un bloc complet et j'ai demandé à mon spécialiste BMW de retirer ce qui reste de l'ancien et de repositionner le nouveau. Il vient de me téléphoner pour me dire que celui que je viens d'acheter et plus grand que le trou existant. Ma question étant y a t'il eu plusieurs modèles d'écrans?.
Merci pour les réponses éventuelles.
Merci pour les réponses éventuelles.
- Dcx
- Administrateur du site

- Messages : 10579
- Enregistré le : 15 juil. 2007 12:49
- Véhicule : Bmw (E90) 330d pack sport M
- VIN (Les 7 derniers caractères) :
- Localisation : RP
-
Dub55
- Nouveau Membre

- Messages : 11
- Enregistré le : 02 sept. 2025 19:04
- Véhicule : BMW Z4 M Roadster e85
- VIN (Les 7 derniers caractères) : LJ20407
- Localisation : Yvelines
Re: Écran GPS BMW E85 M
Bonjour et merci Dcx, je récupère demain le Z. Bizarre le technicien du garage a démonté l'ancien cadre avec les boutons de réglage puisque l'écran a été retiré. J'ai bien acheté le module complet et il est bien référencé pour e85. Ils m'ont dit qu'il manquait 5cm pour reloger le module complet
. Je ne sait pas dans quel sens par contre. Il y a eu un sacré bricolage vu le morceau de bois que l'on aperçoit
. Et je ne parle pas des câbles eux aussi bricolés. Donc demain je verrai si l'entourage du module qui est encore en place est de la même dimension que celui que j'ai acheté. Photos suivent.
-
Dub55
- Nouveau Membre

- Messages : 11
- Enregistré le : 02 sept. 2025 19:04
- Véhicule : BMW Z4 M Roadster e85
- VIN (Les 7 derniers caractères) : LJ20407
- Localisation : Yvelines
Re: Écran GPS BMW E85 M
Photo avec la flêche rouge comme je l'ai eue sans l'écran et à la place un écran Carplay. Photos après démontage de l'entourage.
-
Dub55
- Nouveau Membre

- Messages : 11
- Enregistré le : 02 sept. 2025 19:04
- Véhicule : BMW Z4 M Roadster e85
- VIN (Les 7 derniers caractères) : LJ20407
- Localisation : Yvelines
Re: Écran GPS BMW E85 M
Bonjour, du coup celui que j'ai acheté sur le bon coin n'est pas le bon modèle vendu pour e85 en fait destiné à une X3. Donc retour. Les modules pour e85 sont plus compliqués à trouver.
- Logann
- Membre Assidu

- Messages : 695
- Enregistré le : 16 janv. 2025 12:40
- Véhicule : BMW 330D E46, BMW 320i F30
- VIN (Les 7 derniers caractères) :
- Localisation : Aveyron (12)
Re: Écran GPS BMW E85 M
Slt, je viens de regarder avec la référence donné par @Dcx, c'est introuvable ou alors en neuf mais là c'est entre 4000 et 5000$Dub55 a écrit : 24 sept. 2025 12:28 Bonjour, du coup celui que j'ai acheté sur le bon coin n'est pas le bon modèle vendu pour e85 en fait destiné à une X3. Donc retour. Les modules pour e85 sont plus compliqués à trouver.
-
Dub55
- Nouveau Membre

- Messages : 11
- Enregistré le : 02 sept. 2025 19:04
- Véhicule : BMW Z4 M Roadster e85
- VIN (Les 7 derniers caractères) : LJ20407
- Localisation : Yvelines
Re: Écran GPS BMW E85 M
J'en n'ai trouvé un sur ebay en Angleterre pour 180 livres environ. Mais ça ne résoudra pas mon problème à part retrouver un aspect visuel d'origine. Trop de bidouillage dans le cablage. Il faudrait que je trouve un technicien auto électricien en Ile De France et ci-possible sur BMW.

